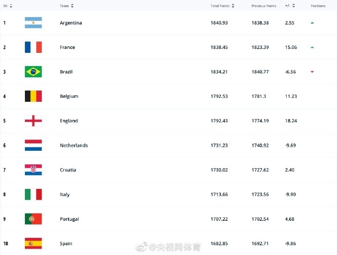
国际足联公布了最新一期的男足世界排名,新科世界冠军阿根廷超越巴西成为第一,法国升至第二,巴西队跌至第三位。而在亚足联方面,日本(世界排名第20)与伊朗(世界排名第24)继续位居前两位,国足则从上一期的世界排名第80位下滑一位至世界第81位,继续排在亚洲第11位。


© 版权声明
热门文章
国际足联公布了最新一期的男足世界排名,新科世界冠军阿根廷超越巴西成为第一,法国升至第二,巴西队跌至第三位。而在亚足联方面,日本(世界排名第20)与伊朗(世界排名第24)继续位居前两位,国足则从上一期的世界排名第80位下滑一位至世界第81位,继续排在亚洲第11位。

